DRF.com – Perkembangan motor listrik kini telah semakin baik dan makin maju dengan pesat, contohnya BMW yang telah mempunyai produk listrik dengan nama CE 02 dan CE 04 bermodel skuter ramping. Pabrikan tersebut saat ini terlihat sedang mengembangkan sebuah motor lisrik yang kemungkinan memiliki performa tinggi.
Motor listrik ini terlihat bukanlah prototipe kecil seperti BMW G 310 dalam versi listrik pada tahun lalu, namun ini adalah motor listrik yang cukup besar. Informasi ini didapatkan dari pabrikan tersebut yang baru saja mengajukan sebuah hak paten, tapi mesin belum dipublikasikan.

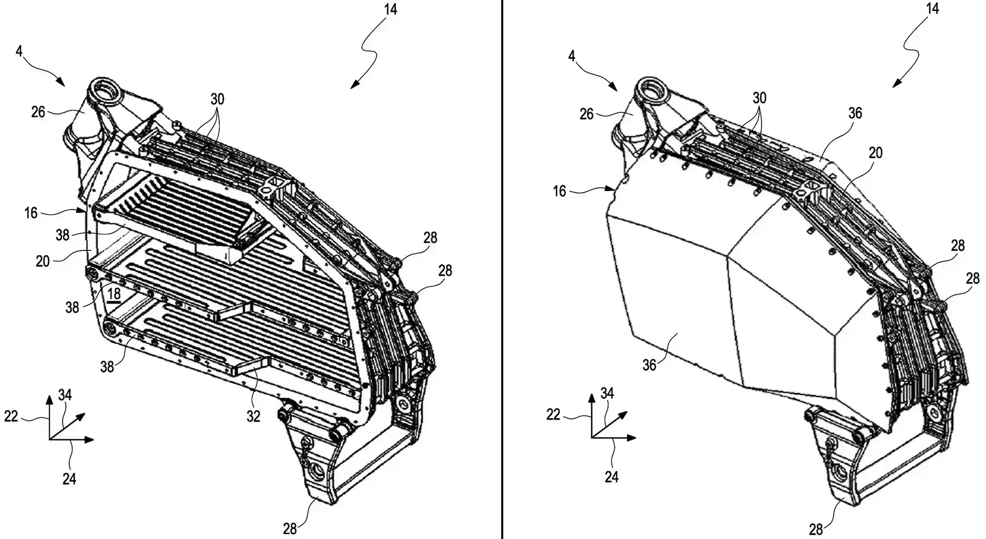
Platform yang dikembangkan ini bisa dipakai hampir semua tipe model motor, seperti model nakedbike, sportbike maupun motor trail atau petualang. Sebuah sasis berstruktur monocoque (monokok) seperti LiveWire, dengan 3 tingkat baterai di dalam sasis tersebut.
Desain poros kemudi depan dan poros swingarm belakang terlihat dapat dengan mudah untuk diubah-ubah agar bisa menyesuaikan dengan banyak jenis motor tanpa mengalami banyak perubahan, terutama di sasis utamanya.
Sebuah sumber mengatakan kalau BMW akan menghadirkan platform yang dikembangkannya ini dengan gaya roadster untuk pertama kali dikenalkan. Namun kita tunggu saja, sebab pabrikan telah berjanji kalau motor listrik ini akan hadir dalam 5 tahun kedepan dan akan mereka terus kembangkan.
