DRF.com – An American electric motorbike manufacturer, Zero Motorcycles, has filed a patent for an innovative clutch system to be installed on electric motorbikes. With this system, it will provide a more interesting driving experience.
Clutch System on Electric Motors
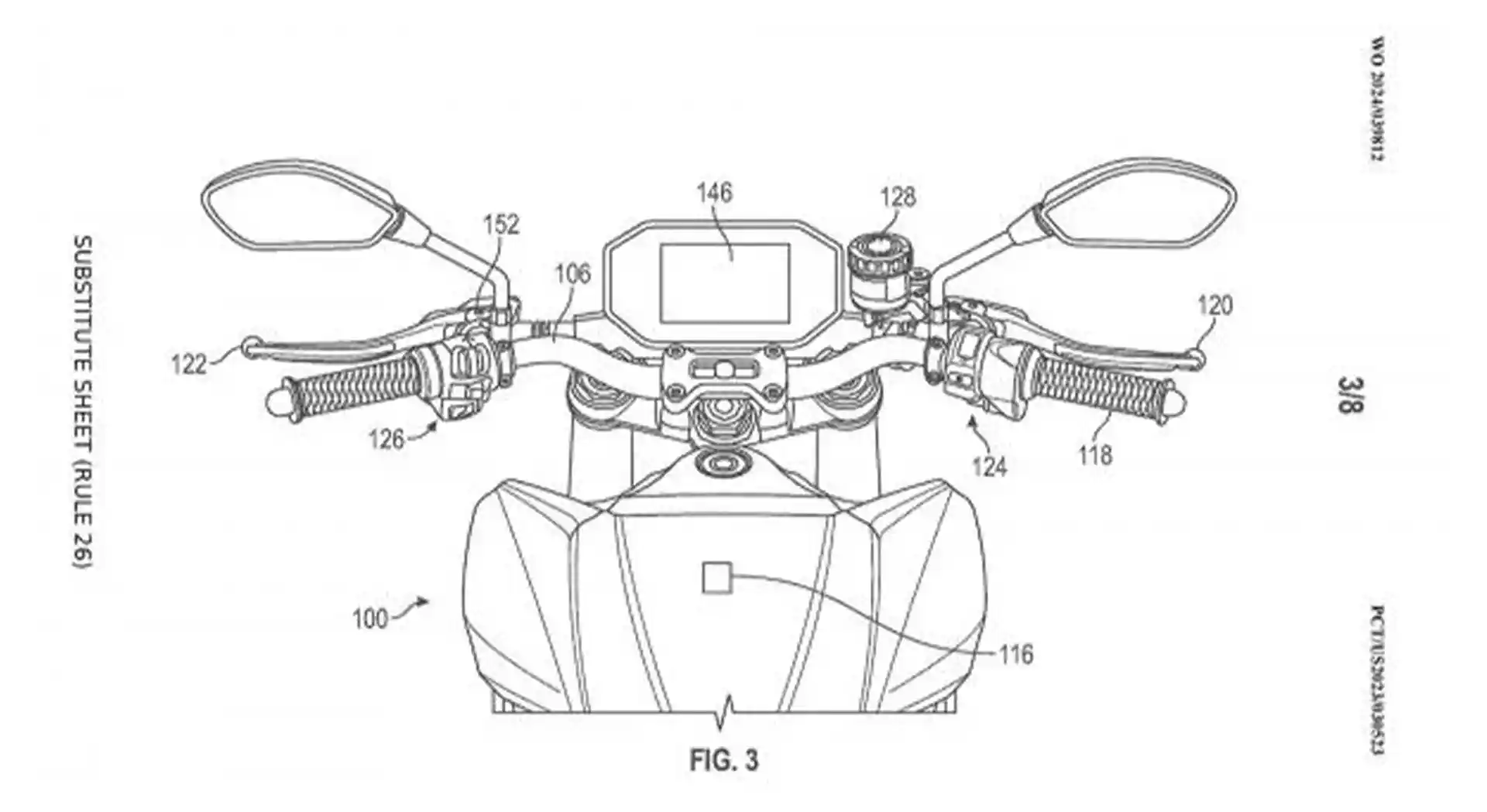
Overall, the clutch system that will be installed on an electric motorbike has the same way of working as a regular clutch and could possibly be replaced with the clutch on a conventional fuel-powered motorbike. Zero Motorcycles clutch system does not involve gear shifting.

The clutch on this electric motorbike only functions to maintain motor torque at low speeds and also for the regenerative ‘engine’ brake. The manufacturer explains the patent, which states that when you quickly release the clutch handle, instant torque will be released, this can simulate the likes of carrying a conventional clutch motorbike even though there are no gears.
Not The First Time
Even though the clutch system on an electric motorbike looks interesting and innovative, this is not something new or the first time. The Brammo manufacturer also uses this system on the Empulse R and Electric Motion models. There is also Kymco with RevoNex and SuperNex models with a hydraulic clutch system combined with a 6-speed gearbox.
It is estimated that the first motorbike to use this system on a model from Zero Motorcycles was the SR/F as shown in the picture. With a sport naked style and may also be present on the DSR/X with the appearance of an adventurous electric motorbike.
